Сельхозтехника Инжиниринг Запчасти

Зерноочистительная машина Петкус К 527

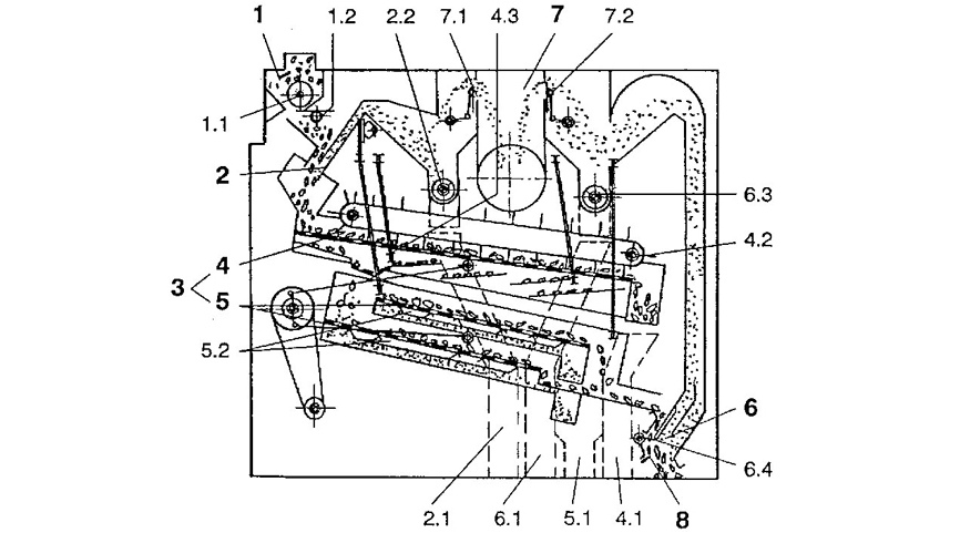
Зерноочистительная машина ПЕТКУС К-527 А Это мощная очистительная машина для предварительной и первичной очистки зерна и семян трав, отделяющая сор и другие примеси и подготавливающая материал к транспортированию, сушке и хранению. Машина отделяет такие примеси, как частицы соломы, стебли колосьев и листьев, пыль, семена сорных растений и др. Машина предназначена для очистки зерновых, зернобобовых, крупяных и масличных культур

Petkus K527 - машина закрытого исполнения. Для удобства обслуживания все органы, управления расположены с одной стороны машины. Смотровые окна и одна лампа внутреннего освещения позволяют наблюдать за внутренней частью машины. Доступ к узлам и деталям, находящимся внутри, удобен благодаря двум дверям на загрузочной и обслуживающей сторонах. В закрытом положении двери фиксируются пластмассовыми держателями. Машина имеет три рабочих органа, которые смонтированы на раме, изготовленной из облегченного профиля: питающее устройство, решетный сепаратор, воздушный сепаратор. Электродвигатели (кроме двигателя вентилятора) и лампа внутреннего освещения смонтированы внутри машины. Сход с верхнего решета, проход среднего и нижнего решет, а также выходы из отстойных камер предварительной и главной воздушной сепарации выводятся через выводные трубы, расположенные возле дверей стороны обслуживания. Выводные трубы прикреплены к раме гайками, что позволяет легко снимать их.

Технические данные

Весовой расход: 20.8 кг/с (75 т/час) на предварительной очистке пшеницы, 11,1 кг/с (40 т/час) на первичной очистке пшеницы.
Электродвигатели:
Привода вентилятора: 11 кВт,
Привода решетных станов: 1,5 кВт
Привода механизма очистки решет: 0,55 кВт
Главные габариты: Длина: 3060 мм Ширина: 2580 мм Высота: 2660 мм Масса: 2300 кг
Размеры секций решет: Длина: 714 мм Ширина: 1530 мм
Кол-во решет: Верхнее 3 Среднее 2 Нижнее 2

To Action